亲爱的朋友
生病本就身心俱疲
若再被报销流程折腾
更是难上加难
知道您最怕拿着一叠单据不知如何下手
挂号单、检查报告、缴费凭证堆成小山
还要琢磨
“这个材料要不要盖章”“申请表怎么填”
……
在医院和医保窗口来回跑
你一定烦透了
别担心,您的烦恼
市政务服务和大数据管理局联合
医保局共同推出就医报销“一件事”来帮您
一站式服务
让您轻松搞定就医费用报销!

已参加基本医疗保险,且可正常享受基本医疗保险待遇的个人。
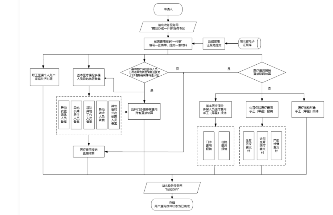
(一)网上办(更便捷)
您可登录“湖北政务服务网”或“鄂汇办 APP”,进入 “高效办成一件事”专区,选择“就医费用报销一件事”,按照系统提示进行在线申报。办理结果可通过平台实时查询,让您足不出户完成报销。
(二)窗口办
若您更习惯线下办理,也可以到武穴市政务服务中心(武穴市刊江大道东城区1号)“高效办成一件事”专区办理,窗口提供 “一对一” 帮办代办,咨询电话0713-6583881。


(一)职工医保个人账户家庭共济办理
1.职工医保参保人员可授权其配偶、父母、子女、兄弟姐妹、祖父母、外祖父母、孙子女、外孙子女使用本人医保个人账户余额。
2.个账所有人和共济享受人建立个账共济绑定关系时,须均为我省基本医疗保险参保人,且医保参保状态为正常参保。
3.个账所有人或共济享受人参保状态为终止参保的,绑定关系自动解除。
4.个账共济关系须由个账所有人主动授权绑定或解除绑定。个账所有人遵循自愿原则,签订《职工医保个人账户家庭共济承诺书》后,新增共济享受人。共济享受人可被多名个账所有人授权绑定。
5.个账所有人在多地有个人账户的,建立个账共济关系时,仅限使用一个账户和同一个共济享受人绑定。
(二)基本医疗保险参保人员异地就医备案
基本医疗保险参保人员异地就医备案,分为以下五种情形:
1.异地安置退休人员备案:职工基本医疗保险参保人员,退休后长期在参保统筹地区外居住并且户籍迁入定居地。
2.异地长期居住人员备案:基本医疗保险参保人员在参保统筹地区外长期居住且未迁户籍。
3.常驻异地工作人员备案:基本医疗保险参保人员被用人单位派驻参保统筹地区外长期工作。
4.异地转诊人员备案:基本医疗保险参保人员因病情需要,经具有转诊资质的定点医疗机构批准,需要到统筹地区外定点医疗机构就诊。
5.其他临时外出就医人员备案:基本医疗保险参保人员临时外出就医人员,到统筹地区外医疗机构就诊。
(三)十种门诊慢特病费用跨省直接结算
申请十种门诊慢特病费用跨省直接结算(高血压、糖尿病、恶性肿瘤门诊放化疗、尿毒症透析、器官移植术后抗排异治疗、慢性阻塞性肺疾病、类风湿关节炎、冠心病、病毒性肝炎、强直性脊柱炎),需同时办理基本医疗保险参保人员异地就医备案、基本医疗保险参保人员享受门诊慢特病病种待遇认定;
(四)医疗费用报销直接结算
符合享受基本医疗保险待遇的参保人员在统筹区内定点医药机构发生的医疗费用可直接结算,跨统筹区就医原则上“先备案,后结算”。
(五)门诊费用报销
符合享受基本医疗保险待遇的参保人员门(急)诊医疗费用因特殊情况等未能联网结算,申请办理手工(零星)报销。
(六)住院费用报销
符合享受基本医疗保险待遇的参保人员住院医疗费用因特殊情况等未能联网结算,申请办理手工(零星)报销。
(七)生育医疗费支付
1.基本医疗保险参保人员符合规定的生育医疗费用。
2.参加生育保险的女职工失业后,在领取失业保险金期间符合规定的 生育医疗费用。
3.参保男职工未就业配偶符合规定的生育医疗费用。
符合上述条件,因特殊情况等未能联网结算的生育医疗费用,通过手工(零星)报销。
(八)计划生育医疗费支付
1.基本医疗保险参保人员符合规定的计划生育医疗费用。
2.参加生育保险的女职工失业后,在领取失业保险金期间符合规定的计划生育医疗费用。
3.参保男职工未就业配偶符合规定的计划生育医疗费用。
符合上述条件,因特殊情况等未能联网结算的计划生育医疗费用,通过手工(零星)报销。
(九)产前检查费支付
1.基本医疗保险参保人员符合规定的产前检查费用。
2.参加生育保险的女职工失业后,在领取失业保险金期间符合规定的产前检查费用。
3.参保男职工未就业配偶符合规定的产前检查费用。
符合上述条件,因特殊情况等未能联网结算的产前检查费用,通过手工(零星)报销。
(十)医疗救助对象手工(零星)报销
1.参保人员为医疗救助对象。
2.医疗费用经基本医疗保险、补充医疗保险支付后,医疗救助待遇没有同步联网支付的。
符合上述条件,因特殊情况等未能联网结算的医疗救助待遇费用,通过手工(零星)报销。

现在,就医费用报销流程浓缩成 “三步暖心走”,您只需要做三件事:
一、整理单据。按上述材料清单要求,提交住院发票、诊断证明、费用清单等必备材料。
二、提交申请。提交材料后,工作人员会及时对您的报销进行审核、录入、核算。您只需像点外卖一样“下单”,后续进度会通过短信通知您。
三、钱款到账。审核通过后,报销金额直接打入您的银行卡,手机还会有到账提醒。


武穴市营商环境投诉举报电话:0713-6583229
营商环境投诉直通车:0713-12345
投诉电子邮箱:wxsyshjbgs@163.com